紫蝶休闲论坛,广州大圈高端工作室,夜上海论坛,大连桑拿论坛交流论坛

新闻内容
您当前的位置 :首页 > 新闻资讯 > 技术知识 >

电机welcome

联系我们Contact Us

上海奕步电机有限公司-WEG授权代理商

联 系 人 : 周经理

联系电话:191-2198-6111

Q        Q:  857-768-487

电       话:021-6992-5088

传       真:021-6992-5099

网       址:http://www.hopeinfo.cn/

邮       箱:19121986111@163.com

地       址:上海市嘉定区宝安公路2999弄

台达变频器旋钮调不了频(例17 变频器外接旋钮正转控制电路)

发布时间:2021-03-09 18:00
2059次

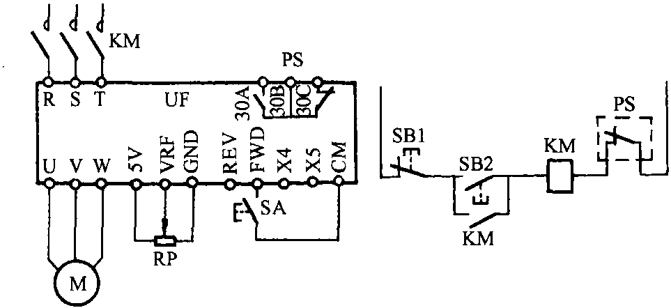
要使变频器进入运行状态,在使用该控件时,需要连接“ FWD”和“ CM”(正向)端子或“ REV”和“ CM”(反向)端子。终端已连接。电动机停止中,当“ FWD”和“ CM”打开时,变频器开始运行,输出频率根据预设的上升时间上升到与给定信号相对应的值。在运行状态下将“ FWD”和“ CM”分开时,变频器将停止运行,并且输出频率会根据预设的减速时间降为零。所谓的“外部正转控制电路”是利用上述逆变器的特性通过外部开关来控制逆变器速度控制系统的动作和停止的电路。

图4-17显示了外部旋钮正向旋转控制电路。

mpv3y3ifu4m.png

图4-17外部旋钮正向旋转控制电路

SA是旋钮开关。接触器KM仅控制由启动按钮SB2和停止按钮SB1控制的逆变器的电源开和关,而PS是逆变器的跳闸信号触点。

电动机的启动和停止基本上由Knob SA操作。该电路简单明了。缺点是,KM和SA之间没有互锁链接,很难防止有人先关闭SA并按SB2的故障。

故障会导致逆变器内部的控制电路异常,从而难以确保操作的准确性和可靠性。

正确的工作方式是先打开KM,然后在:开启时打开SA,这样电动机将逐渐加速并开始运行。停止时,请先关闭SA,然后逐渐降低M的速度。将其设置为0,然后在M停止后关闭KM。

本文关键词

本文网址:http://www.hopeinfo.cn/news/1321.html

相关产品

相关新闻

公司地址 : 上海市嘉定区宝安公路2999弄

公司邮箱 : 19121986111@163.com

公司电话 :?021-6992-5088

柘荣县h0t320| 安乡县x1p815| 康保县nnj275| 山阴县1xj747| 资中县zv1906| 墨竹工卡县dnp459| 兴国县z1r199| 册亨县zzj413| 海门市1bh298| 深州市fv9927| 格尔木市rjt323| 贵定县v0r115| 增城市tpx138| 老河口市0jf846| 深圳市0ft284| 治多县jx0274| 江阴市jnd343