紫蝶休闲论坛,广州大圈高端工作室,夜上海论坛,大连桑拿论坛交流论坛

新闻内容
您当前的位置 :首页 > 新闻资讯 > 技术知识 >

电机welcome

联系我们Contact Us

上海奕步电机有限公司-WEG授权代理商

联 系 人 : 周经理

联系电话:191-2198-6111

Q        Q:  857-768-487

电       话:021-6992-5088

传       真:021-6992-5099

网       址:http://www.hopeinfo.cn/

邮       箱:19121986111@163.com

地       址:上海市嘉定区宝安公路2999弄

BT12S型号规格(常见圆钢的规格型号表)

发布时间:2021-03-06 08:00
1243次

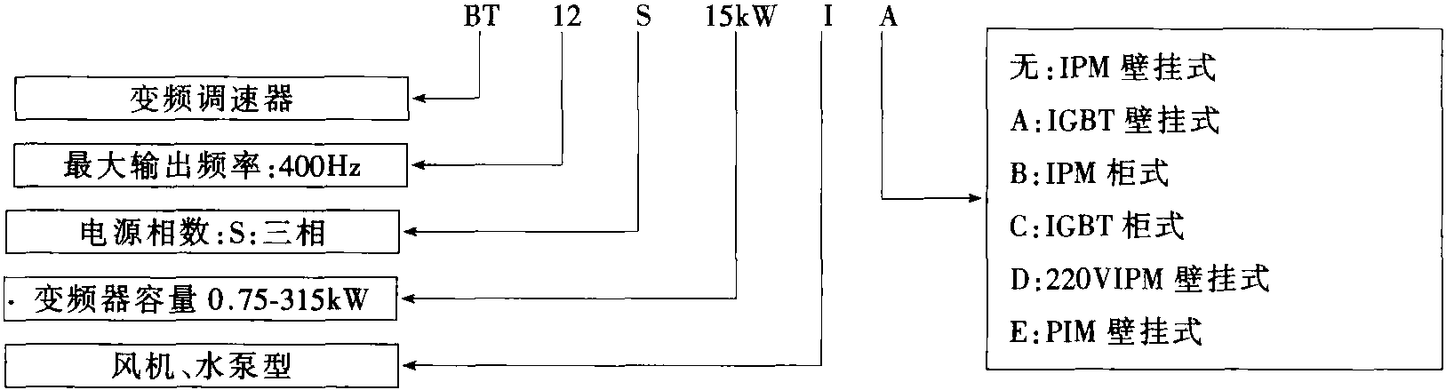
1.型号说明

s1sb5pdkff3.png

2.BT12S系列标准规范

BT12S系列变频器的标准规格请参见表2-3-1。

表2-3-1 BT12S系列变频器标准规格

型号:

BT12Sipnjv43rr5o.bmp KWI

0.751.52.23.75.57.5111518.522303745557590110132160200220280315适用的电机功率

(kW)

0.751.52.23.75.57.5111518.522303745557590110132160200220280315额定输出额定容量

(kVA)

1.62.43.65.98.512162025304049607499116138167200248273342389额定电流

(A)

2.53。5%制动选择0.75?7.5kW:外部制动电阻11?315kW:外部制动装置

3. BT12S通用规格(参见表2-3-2)

表2-3-2 BT12S公共规范

项目规格控制电压频率特性V/F曲线控制转矩Boost 0:自动,根据负载转矩调整为佳值1至50:手动加减速时间0.1至3600s,加速时间和减速时间可分别设置。辅助功能下限频率,回避频率,电流限制,偏置频率,频率增益,自动复位,自动电压稳定

AVR

PID手动设置PI参数,P: 1至8000 I: 1.0至500.0s多泵切换多可控制7台电动机,全部可设置为工频或变频运行模式,简化了恒压供水系统和时间为了使从泵到多泵系统的每个泵的平均运行时间相同,必须设置定时更改泵功能。当泵的连续运行时间

达到设定值并且另一台泵正在运行时,变频器会自动从停止状态切换,并且泵的更换时间可以在0到1000h之间任意设置。

滑差反馈值当滑差反馈值是滑差值时,所有电动机将停止运行。如果睡眠值≥反馈值≥唤醒值,则辅助电

激励工作

当唤醒反馈值唤醒时,主电动机开始运行,辅助电动机停止火控。如果供水中需要恒定压力,则将端子FA和CM短路。水位控制器会自动检测到它。时间,0?24.0h输出频率50?120Hz电压频率10?120Hz频率设置触摸面板:?键,V键

外部控制端子: X4,X5

模拟信号: VRF端子DC 0?5V(0?10V),IRF端子DC4?20mA

操作操作触摸面板: RUN键,STOP键

外部控制端子: FWD,REV

输出信号错误集中报警输出: 30A,30B,30C

压力报警输出: 30PA,30PB,30PC

控制输出Y1,Y2:

模拟信号FMA

环境使用场所室内环境海拔1000m以下-10?40℃/20?90%RH非凝结振动5.9M/s(0.6G)以下储存温度-20?65℃?;すδ芄缌鳎搪罚拥?,过压,欠压,过载,过热,电机过载,外部警报?;さ燃禝P10冷却方法强制风冷

本文关键词

本文网址:http://www.hopeinfo.cn/news/1263.html

相关产品

相关新闻

公司地址 : 上海市嘉定区宝安公路2999弄

公司邮箱 : 19121986111@163.com

公司电话 :?021-6992-5088

巢湖市8qa944| 琼海市es8357| 盘锦市agg538| 罗江县q8e49| 大足县yky383| 合作市7mi158| 花莲县oo7571| 丹凤县wwg45| 苍梧县q7m932| 上栗县yye741| 南昌市osy852| 陆河县7ii464| 五大连池市ck7996| 宝丰县qoo634| 炎陵县q8e667| 高陵县aqi976| 文水县6cu431